Radio AM

Construire poste radio bande AM

2.1
(8)

Le récepteur radio décrit ici est conçu pour capter les signaux AM dans la bande MW, couvrant la plage de fréquences allant de 540 à 1600 kHz. Il est structuré en trois composants principaux : l’alimentation, la partie HF (haute fréquence) et la partie BF (basse fréquence). L’alimentation convertit la tension secteur de 220V en une tension continue de 9V, assurant ainsi le bon fonctionnement du récepteur. La partie HF joue un rôle crucial en amplifiant et en filtrant le signal reçu, permettant ainsi une réception claire et précise des émissions radio. Pour la partie BF, le circuit intégré TBA820M est utilisé pour amplifier le signal audio. Ce circuit offre une puissance de sortie de 2W, garantissant une qualité sonore satisfaisante pour l’écoute des programmes radio.

Ensemble, ces trois parties travaillent en harmonie pour assurer la réception efficace des signaux radio AM dans la plage de fréquences spécifiée. La conversion de la tension secteur, l’amplification et le filtrage du signal HF, ainsi que l’amplification du signal audio BF, sont autant d’étapes essentielles dans le processus de réception radio. Ce récepteur radio représente donc un exemple typique de conception fonctionnelle, offrant une solution complète pour l’écoute des émissions radio dans la bande AM.
Date de conception et de réalisation : mars 1999

Schéma de la partie alimentation

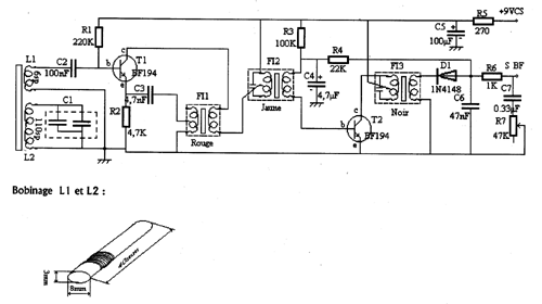
schema radio am1Schéma de la partie haute fréquence

schema radio am2Schéma de la partie basse fréquence

emetteur fm4Nomenclature

Partie alimentation

TR1:Transformateur 220v/9v 400mA
F1:Fusible 10mA
D2-D5:Diode 1N4007
REG1:Régulateur de tension L7809CV
R24:10K
C20:Condensateur chimique 2000µF/16v
C21:Condensateur chimique 100µF/16v
DL1:Diode led rouge petit model
I1:Interrupteur

Partie haute fréquence

Résistances:
R1:220K
R2:4,7K
R3:100K
R4:22K
R5:270
R6:1K
R7:47K variable
Condensateurs:
C1:….
C2:100nF
C3:4,7nF/16v
C4:4,7µF/16v
C5:100µF/16v
C6:47nF
C7:0,33µF
Bobinage:
L1:6sp
L2:110sp
FI1:Transformateur fréquence intermédiaire (rouge)
FI2:Transformateur fréquence intermédiaire (jaune)
FI3:Transformateur fréquence intermédiaire (noire)
Semi-conducteurs:
T1-T2:Transistor BF194
D1:Diode 1N4148

Partie basse fréquence

Résistances:
R8:100K
R9:10K
R10:33
R11:4,7
Condensateurs:
C8:10µF/16v
C9:470µF/16v
C10:10µF/16v ou 47µF/16v
C11:56pF
C12:100µF/16v
C13:220nF
Divers:
HP:Haut-parleur 2W
Amplificateur TBA820M

Cet article a-t-il été utile ?

Cliquez sur une étoile pour l’évaluer !

Note moyenne 2.1 / 5. Nombre de votes: 8

Aucun vote pour l'instant ! Soyez le premier à évaluer cet article.

Visité 37 fois, 1 visite(s) aujourd’hui

Publications similaires

  • Comment fabriquer ses circuits imprimés

    3.5 (4) Voici comment fabriquer ses circuits imprimés chez soi, quand on ne peut pas consacrer 150 € à un petit labo catégorie hobby. Cette méthode ne convient assurément pas

  • ADP5040 et 5041 nouveaux régulateurs multi-sorties

    0 (0) LES NOUVEAUX RÉGULATEURS MULTI-SORTIES AVEC TEMPORISATEURS CHIEN DE GARDE ET DE SUPERVISION PROPOSÉS PAR ANALOG DEVICES RÉDUISENT LE NOMBRE DE COMPOSANTS TOUT EN AUGMENTANT LA FIABILITÉ ET LA

  • Construire un voltmètre numérique

    3.7 (9) Le schéma présenté correspond à un voltmètre analogique simple capable de mesurer des tensions continues dans une plage typique de 0 à 15 volts. Ce type de montage

  • Transmetteur FM à courte distance – 88MHz à 108MHz

    3.5 (4) Attention: Texte traduit a l’aide de Google traduction Schéma Caractéristiques de l’émetteur Tension d’alimentation: +3 V DC Intensité: 21mA Fréquence de sortie: 88MHz – 108MHz Modulation: FM Frequency

  • Synthétiseurs de fréquence PLL (ADF4151 et 4196)

    5 (1) L’un des premiers fournisseurs mondiaux de semi-conducteurs pour applications de traitement de signal de hautes performances et l’un des premiers fournisseurs de circuits intégrés RF (radiofréquences), annonce ce